
如今,我們習以為常使用各種儀器來觀察微小物體的細節。但在18世紀,顯微鏡可是當時最熱門的「派對神器」。
在那個年代,英國知識分子會舉辦一些友善的社交聚會,稱為科學聚會。在雅緻的家中,男男女女一邊喝著咖啡或茶,一邊進行科學探討,並觀看最新的研究成果和理念的演示。
例如,偉大的化學家漢弗萊·戴維(他最終發現了包括鈉、鉀、鈣和鎂在內的許多元素)會舉行熱鬧的聚會,參與者會輪流吸入一氧化二氮(今天更廣為人知的名稱是笑氣),其結果可想而知,令人陶醉。
大多數科學聚會都比戴維的聚會安靜得多。它們通常包括辨識當地植物或在漆黑的夜空中尋找流星和彗星。另一項流行的消遣是製作和使用高壓靜電裝置,例如溫姆斯赫斯特靜電產生器和萊頓瓶。
但或許是科學派對上的女王非太陽顯微鏡莫屬。太陽顯微鏡最早於1750年左右研製成功,並在隨後的幾十年中日益普及。這種儀器的工作原理與20世紀70年代的幻燈機相當相似。然而,太陽顯微鏡的照明方式並非使用當時尚未發明的燈泡,而是依靠可移動的反射鏡和透鏡系統來反射陽光。然後,裝置會將微觀樣本的放大影像投射到黑暗房間的牆壁上。

太陽顯微鏡曾經一度風靡一時,如今卻大多已被遺忘,少數研究它們的科學史學家對其歷史地位也褒貶不一。有些人認為這種儀器不過是玩具,並無多少科學價值,只是業餘愛好者和修補匠的專屬。另一些人則認為,這些儀器意義非凡,它們透過展現從未見過的微觀世界,激發了人們對科學的興趣。它們向人們展示了微觀世界的趣味性和重要性,促使人們拓展想像力。
在了解了這個精巧儀器的歷史和科學原理後,我決定自己動手做一個。雖然很難找到關於太陽顯微鏡製作的詳細資料,但我透過反覆試驗,並結合閱讀有限的資料,最終製作了一個效果不錯的DIY裝置。此外,我還進行了一些現代化的改進,使我的版本更容易組裝和使用。
當我把預先準備好的植物細胞和昆蟲組織切片放入太陽顯微鏡中時,它們呈現出的景象正如啟蒙時代科學愛好者所描述的那樣。雖然我以前也用普通光學顯微鏡觀察過微小物體,但看到由我自己製造的機器投射出的如此清晰醒目的圖像,仍然讓我感到無比滿足。
我認為這台儀器是連接宏觀與微觀的橋樑。由於太陽是光源,太陽顯微鏡將對立的事物結合在一起:微小變為巨大,極暗變為略微明亮。而最奇妙的是,天文學也融入了生物學。
建造太陽顯微鏡
製作一台太陽顯微鏡並不難,但確實需要用到一些木工工具。如果你能以合理的價格找到二手零件,成本應該低於50美元。
統計數據
- 時間:約16小時
- 費用:約 50 美元
- 難度:中等
工具
- 配有 1/8 英吋、5/32 英吋和 5/16 英吋鑽頭的電鑽
- 木工鑿子
- 木工膠
- 膠水
- 三個木工膠夾
- 將砂紙裁成 1 英吋寬的條狀。
- 開孔器,直徑 1¾ 英吋
- 槌
- 美工刀
- 如果你不依賴太陽能:高強度手電筒
- 如果您依賴太陽能:請使用油漆安全膠帶
材料
太陽顯微鏡的具體尺寸取決於您選擇的投影鏡頭。這些設計圖基於柯達 Ecktanar 投影鏡頭,其直徑為 102 毫米,光圈為 f/2.8,最寬處厚度略超過 2 英吋。這款鏡頭非常常見,您可以在 eBay 等網站上找到價格相當便宜的二手貨。如果您最終選擇了其他鏡頭,請務必注意,盒子尺寸也會隨之改變。鏡頭的直徑會影響木板的寬度,而其焦距則會影響木板的長度。
- 兩塊椴木或楊木板,寬 2¼ 英寸,長 13 英寸,厚 ¼ 英寸。 (您可以使用帶鋸輕鬆將椴木或楊木切割成所需尺寸。如果沒有帶鋸,只要小心操作,也可以使用手鋸。)
- 兩塊椴木或楊木板,寬 3 英寸,長 13 英寸,厚 ¼ 英寸。
- 八個直徑為 1/4 英寸的 T 型螺母(T 型螺母在任何五金店都能買到,用於將螺栓插入平坦的木質表面。每個 T 型螺母都由一個帶螺紋的本體和一個頂部的凸緣組成,因此從側面看就像一個 T 字。)
- 幻燈機的投影鏡頭,例如柯達 Ecktanar 102 毫米鏡頭
- 四個 1/4 英吋、1/2 英吋長的蝶形螺絲
- 四個 1/4 英吋、1 英吋長的蝶形螺絲
- 兩顆 10 號螺栓,2 英吋長,每顆螺栓配有螺帽和墊圈。
- 兩塊木方塊,尺寸分別為 2 又 3/16 英吋 x 2 又 7/16 英吋 x ¾ 英吋厚
- 一塊木方,尺寸為2又3/16吋×2又7/16吋×1/4吋厚
- 兩個直徑 50 毫米的平凸聚光鏡(截至撰寫本文時,亞馬遜、速賣通和 eBay 上此類透鏡的售價均低於 10 美元。如果您找不到合適的透鏡,可以用雙凸透鏡(例如小型放大鏡中的透鏡)代替兩個平凸透鏡,這樣可以獲得類似的效果,圖像亮度只會略有下降。
- 如果您依賴太陽能:圓形鏡子,直徑 2½ 英寸
- 如果您依賴太陽能:放大鏡安裝在萬向節上(這種連接方式類似於焊接台或「輔助手」上的放大鏡)。
- 如果你依賴太陽能:不透明的黑色布料
指示
太陽顯微鏡由四個部分組成:投影透鏡、用於固定各部件的盒子、聚光透鏡以及太陽反射器或高強度手電筒。選擇哪種光源取決於您是否決定利用太陽光。
陽光可能是一種不太可靠且難以捉摸的光源,所以我建議您先用手電筒嘗試這個項目。如果效果不錯,那麼您就可以購買太陽反射鏡的零件,將其組裝起來,然後安裝到完成的顯微鏡上。
購買投影鏡頭
雖然可以用單一鏡片自製投影鏡頭,但購買二手投影鏡頭要簡單得多,也便宜得多。幻燈機在1960年代到90年代非常流行,現在大多數都閒置在地下室或閣樓。這意味著很容易就能以極低的價格找到優質的幻燈機鏡頭。

在製作盒子之前,請先測量投影鏡頭的直徑,確保它能放進盒子裡。如果鏡頭太大,可以用更寬的木板來增加盒子的尺寸。
組裝盒子
為了將所有部件固定在一起,你需要製作一個可以容納它們的木箱。

首先,你需要在3吋寬的木板上開槽,形成一個用來放置標本載玻片的開口。要完成這個切割,你需要用到帶有1/8英寸鑽頭的電鑽、鑿子和砂紙條。

先鑽一排孔,使它們形成一條長1又1/8吋的線。然後用鑿子清理孔之間的木頭。清理後的表面會比較粗糙,所以需要打磨光滑:將1吋寬的砂紙條穿過孔洞,磨掉粗糙的部分。
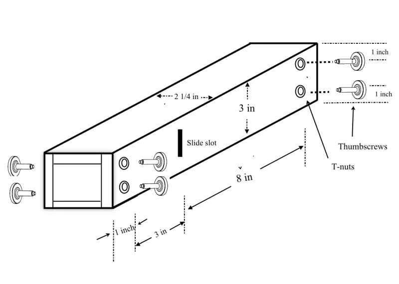
接下來,在每塊 3 英吋寬的木板上鑽四個 5/16 英吋的孔,孔的位置如圖所示。將 T 型螺帽套在孔上,然後用鐵鎚敲緊。

現在你已經準備好了 3 英寸寬的木板,你可以將它們與 2¼ 英寸寬的木板組裝成盒子。

在3英寸寬的木板邊緣塗上膠水,然後將它們壓在2¼英寸寬的木板上。之後用夾具將組件固定到位,等待膠水乾燥,大約需要一個小時。
拆下夾具後,插入蝶形螺絲。 1吋長的螺絲應插入靠近槽口的T型螺帽中,½吋長的螺絲應插入另一端的T型螺帽中。
製作聚光透鏡
為了形成明亮的影像,必須將反射鏡或手電筒發出的陽光聚焦或匯聚到要投影的影像上。聚光透鏡通常由兩個略微分開的平凸透鏡組成,其結構如下所示。

製作聚光透鏡時,首先找到並標記每個木塊的中心。在三個木塊上,分別以剛才標記的中心為中心,鑽一個直徑 1¾ 英吋的孔。

接下來,兩塊厚度為¾英吋的正方形木板,用美工刀在鑽孔的一側刻出一個凸緣。刻痕必須夠深,以防止鏡片凸出木板表面。
將三個聚光透鏡片疊在一起,然後在組件的對角鑽兩個 5/32 英吋的孔。

如圖所示,將透鏡放入透鏡座內。然後將10號螺栓穿過孔洞。放入墊圈並擰緊螺帽。
將組件放入木盒中,確保其能順暢滑入。如果聚光鏡在任何位置卡住或阻力過大,請打磨掉木製鏡座上的一些材料,直到其能夠輕鬆移動。
拼湊出太陽能反射器
如果你決定用太陽光為顯微鏡供電,你需要將光線引導到聚光鏡,然後再穿過載玻片標本。這就需要一個太陽反射鏡。為了方便地將反射器安裝到顯微鏡上,我用一個帶有萬向節的放大鏡自製了一個。
你可以用一個叫做「輔助手」或「第三隻手」的小工具來製作一個廉價的太陽能反射板。這種工具通常用於在焊接電路時固定零件。這些便宜的小裝置(在工具商店 Harbor Freight 大約 5 美元就能買到)通常包含一個末端帶有萬向節的小型放大鏡。

取下放大鏡,並將一面小鏡子黏在放大鏡上,如上圖所示。
現在您可以將太陽能反射器安裝到您的專案中。萬向節讓您可以快速調整角度,以便更好地將光線反射到太陽能顯微鏡中。
組裝零件
各個部件製作完成後,就可以將它們組裝成太陽顯微鏡了。
首先將投影鏡頭插入盒子,插入位置靠近幻燈片支架槽的一端。輕輕旋緊指旋螺絲,將投影鏡頭固定到位,確保光線可以沿著垂直於盒子開口面的方向穿過鏡頭。
將聚光鏡插入盒子另一側。擰緊蝶形螺絲。
使用顯微鏡
將太陽顯微鏡帶入暗室,並將投影鏡頭對準約 3 公尺外的白色牆壁或螢幕。將載玻片上的標本插入插槽並居中。然後,用手電筒(越亮越好)照射顯微鏡的聚光器端。調整鏡頭和載玻片的位置,使光線居中並垂直照射到鏡頭和載玻片表面。
您可能需要調整投影鏡頭或聚光鏡頭的位置才能獲得清晰的焦點。為此,請鬆開指旋螺絲,然後輕輕前後移動鏡頭和鏡頭支架,直到影像清晰對焦為止。
根據鏡頭焦距和投影鏡頭與螢幕之間的距離,您可以獲得至少 25 倍的放大倍率。透過將太陽顯微鏡遠離螢幕,您可以將放大倍率提高到 50 倍甚至更高。但請注意,這樣做也會使影像變暗。
如果你不介意使用手電筒或其他人造光源,那就萬事俱備了。但是,如果你真的想舉辦一場科學派對,你必須利用太陽光。為此,你需要將太陽顯微鏡的一端放在戶外明亮的光線下,而另一端則指向黑暗的房間。
實現這種效果的常見方法是利用一扇打開的窗戶。將太陽顯微鏡放置在黑暗的房間內,使帶有聚光鏡的一端能夠接收陽光,而帶有投影鏡的一端則指向房間內部。為了將明亮區域與黑暗區域完全隔離,可以用一塊不透明的黑色布料和一些油漆膠帶遮擋外部光線。
將太陽顯微鏡安裝在窗戶上後,取出先前製作的太陽反射器,檢查其開口端的鱷魚夾。可以用它將反射鏡固定在太陽顯微鏡的聚光鏡端。調整反射鏡的角度,使其能夠反射陽光穿過透鏡和玻片。這樣,影像應該會投射到暗室內的白色螢幕上。獲得清晰的影像後,可以透過改變螢幕與顯微鏡透鏡之間的距離來調整影像的大小和焦距。
